ST(意法半導體)的型號SPC560B60L7B6E0X屬于32位汽車MCU微控制器,是32位片上系統(SoC)微控制器是集成汽車應用控制器的最新成就。它屬于一個不斷擴大的以汽車為重點的產品系列,旨在解決汽車內下一波車身電子應用的需求。

SPC560B60L7B6E0X是汽車控制器,先進且經濟高效,主機處理器核心基于PowerArchitecture技術。僅實現VLE(可變長度編碼)APU(輔助處理器單元),從而提高了代碼密度。它以高達64MHz的速度運行,并提供針對低功耗而優化的高性能處理。它利用了當前Power Architecture設備的可用開發基礎設施,并由軟件驅動程序、操作系統和配置代碼支持,以幫助用戶實現。
意法半導體SPC560B60L7B6E0X的中文參數
品牌:ST(意法半導體)
產品分類:32位汽車MCU
裝:176-LQFP(24x24)
核心處理器:e200z0h
內核規格:32-位
速度:64MHz
連接能力:CANbus,I2C,LINbus,SCI,SPI,UART/USART
外設:DMA,LVD,POR,PWM,WDT
I/O數:149
程序存儲容量:1MB(1M x 8)
程序存儲器類型:閃存
RAM大小:80K x 8
電壓-供電(Vcc/Vdd):3V ~ 5.5V
數據轉換器:A/D 53x10/12b
振蕩器類型:內部
工作溫度:-40°C ~ 105°C(TA)
安裝類型:表面貼裝型
基本產品編號:SPC560
HTSUS:8542.31.0001
產品應用:車規MCU
意法半導體SPC560B60L7B6E0X的功能特點
1、強大的處理能力:采用32位Power Architecture? 內核,主頻高達64MHz,能夠滿足復雜的汽車電子控制需求。
2、大容量閃存和RAM:內置512KB的閃存和56KB的RAM,可用于存儲程序代碼和臨時數據,支持多種應用要求。
3、多個外設接口:包括CAN、LIN、SPI、I2C、UART等通信接口,可與其他汽車電子系統進行數據交換和通信。
4、高精度模擬和數字接口:具有12位的模擬到數字轉換器(ADC)和12位的數字到模擬轉換器(DAC),可用于模擬信號采集和輸出。
5、安全特性:支持硬件加密和解密功能,具有安全存儲區域,可保護敏感數據和程序代碼的安全性。
6、豐富的外部設備支持:支持多個IO口、定時器、PWM輸出等外設,可用于控制外部設備和執行各種任務。
7、低功耗設計:采用先進的低功耗技術,具有多級休眠模式和時鐘管理功能,可有效降低功耗。
意法半導體SPC560B60L7B6E0X的應用領域
SPC560B60L7B6E0X是一款用于汽車電子系統的32位汽車MCU微控制器,其主要應用領域如下:
汽車發動機控制系統:SPC560B60L7B6E0X可以用于汽車發動機電子控制單元(ECU),通過測量和監控引擎傳感器的信號來實現發動機的精確控制。它支持多種發動機控制算法,并能提供高精度的定時和節能功能。
車身電子系統:SPC560B60L7B6E0X可以用于車身電控模塊,控制車輛的各種電子系統,如車門控制、電動窗戶、中央鎖定、天窗等。它提供多個通用輸入/輸出引腳和通信接口,支持與其他電子系統的數據交換。
整車電子系統:SPC560B60L7B6E0X適用于整車級別的電子系統,例如車身電控單元(BCU)和車載娛樂系統。它支持豐富的通信接口和視頻音頻處理功能,能夠實現多媒體數據的傳輸和處理。
安全和駕駛輔助系統:SPC560B60L7B6E0X可以用于汽車的安全和駕駛輔助系統,如主動安全系統、車道保持輔助系統、自動緊急制動系統等。它支持高精度的測量和控制功能,可以實現車輛的智能化和自動化。
集成底盤控制系統:SPC560B60L7B6E0X可以用于汽車的底盤控制系統,如電子穩定程序(ESP)、防抱死剎車系統(ABS)、牽引力控制系統等。它具有高速計算和響應能力,可以實現對車輛動力和制動的精確控制。
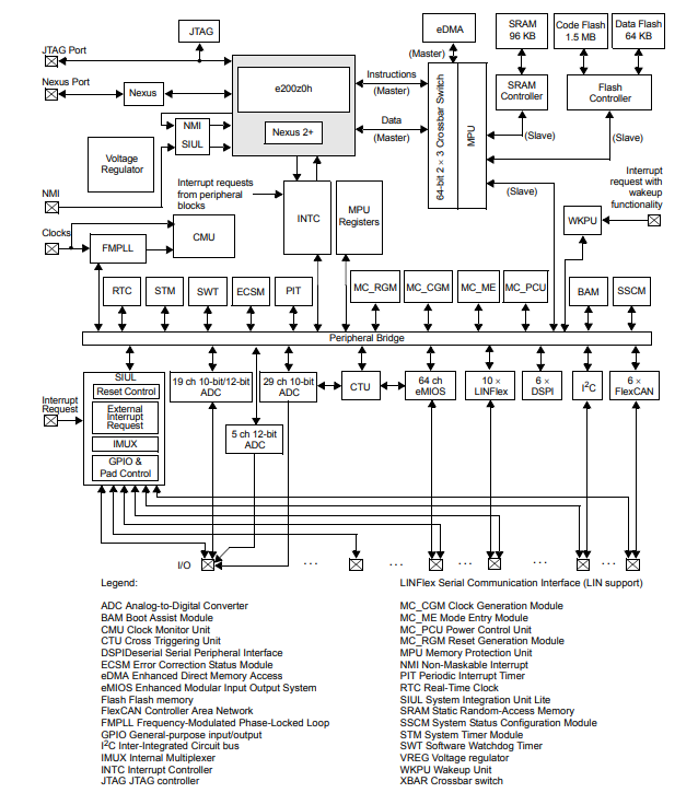
意法半導體SPC560B60L7B6E0X的功能方框圖

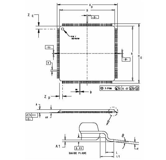
意法半導體SPC560B60L7B6E0X的引腳封裝圖


意法半導體SPC560B60L7B6E0X的型號解釋圖

詢價列表 ( 件產品)
哦! 它是空的。