華為技術有限公司最近增加了多項專利信息,其中之一是“半導體結構及制造方法、三維存儲器、電子設備”,官方號碼為cn116940110a。

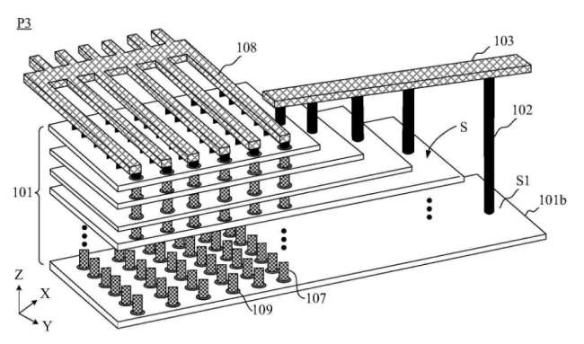
根據專利摘要,該申請涉及提高三維存儲器存儲密度的半導體芯片技術領域。這個半導體結構的外部層沉積層、電容器、第一次接觸柱子及首家信號線組成,外圍堆疊層包括層疊設置的多個膜層對,膜層對第一個防止介質層和柵極層,包括各雙膜形成多個臺階。電容器包括第一電極和第二電極。第一個接觸柱位于第一個目標階的上端,一邊與形成第一個目標階的膜層的柵極層電連在一起,第一個目標階是多個階中的臨界段。第一根信號線連接到第一根接觸柱的另一端,第一根信號線被安排在柵極層傳送第一電壓信號,柵極層被安排成第一電極。上述半導體結構應用于三維存儲器,實現數據的讀寫操作。
華為表示,隨著內存單元特征大小接近下限,平面技術和制造技術具有挑戰性,成本提高,從而使2d內存的內存密度接近上限。為了克服2d存儲器的局限性,業界開發了三維結構的存儲器,為了提高存儲器密度,將膜層堆疊起來,縮小了零件的尺寸。
上述三維存儲器還包括周圍電路,周圍電路和存儲單位設置在三維存儲器的不同區域。外部電路中金屬-氧化物-金屬(metal - oxide - metal,減少mom)電容器,因此,包括mom電容器的區域面積,減少儲存裝置的區域面積增加三維記憶裝置的存儲密度提高的方法在銀領域正在成為亟待解決的問題。
詢價列表 ( 件產品)
哦! 它是空的。